ПЕРЕКЛЮЧАТЕЛИ 92.3709-01 3724568 3709.680
![]() |
![]() |
![]() |
|
| Для электрической блокировки дверей автомобиля. | Для подключения переключателей к электронной схеме автомобиля. | Для установки переключателей 92.3709, 92.3709-01 в мягких панелях автомобилей. | |
|
|
|||
|
ТЕХНИЧЕСКИЕ ХАРАКТЕРИСТИКИ |
|||
|
|
|||
| Номинальное напряжение, В | 12 | - | - |
| Номинальный ток, А | 10 | - | - |
| Падение напряжения, мВ/А | не более 10 | - | - |
| Масса, кг | 0,015 | 0,0032 | 0,0019 |
| Степень защиты | 1Р4Х | - | - |
| Размер штырей, мм | 2,8х0,8 | - | - |
| Способ крепления | защелками корпуса | защелкой корпуса | защелкой корпуса |
| Условное обозначение символа | согласно чертежа | - | - |
| Тип подсветки | от встроенной лампы | - | - |
| Технические условия | ТУ 37.469.012-95 | - | - |
|
|
|||

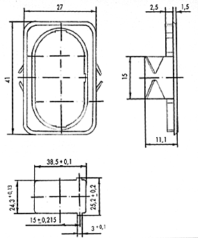
Габаритные размеры и электрическая схема 92.3709-01

Габаритные размеры и электрическая схема 2106-3724568
Габаритные размеры 21093-3709.680